出品:新浪财经上市公司研究院
作者:君
10月20日,广东金添动漫股份有限公司(下称“金添动漫”或“公司”)正式向联交所递交上市申请,计划在香港主板上市,国际及国际担任其联席保荐人。
金添动漫在新三板挂牌期间,主要供应商背后频频隐现自然人蔡思川的身影。同时,其在公司员工持股平台东莞金乐中拥有较大份额。金添动漫将其认定为“非关联第三方”是否准确、合理,是否存在不披露关联交易以规避监管的情形,是否涉嫌信息披露违法违规?
此外,金添动漫业绩高度依赖授权IP,2025年上半年非IP产品的收入占比仅0.5%。与此同时,公司奥特曼、名侦探柯南及其他IP的IP授权方的控股股东孙剑于今年5月出走,是否可能对公司经营造成冲击?
实控人蔡建淳持股100%
金添动漫致力于动漫休闲食品的研发、设计、生产、推广和销售。将“动漫”与“食品”概念相结合,以动漫品牌授权为抓手,专注运作青少年食品,传播动漫文化,为青少年消费群体提供具有动漫元素特色的饼干、糖果、薯条、海苔及烘焙等类别休闲食品,是汇集众多世界知名动漫品牌形象的动漫休闲食品生产运营商。
目前金添动漫已拥有“铠甲系列”“巴啦啦小魔仙系列”“奥特曼系列”“哆啦A梦系列”“喜羊羊与灰太狼系列”“熊出没系列”“小黄人系列”等国内外一线动漫授权形象,同时也拥有“伊脆”“奥特蛋”“多嘴鱼”“巧魔方”等原创品牌。
根据弗若斯特沙利文报告,于2024年,按收入计,金添动漫分别是中国最大的IP趣玩食品企业和中国第四大IP食品企业,市场份额分别为7.6%及2.5%。按相同资料来源,截至2025年6月30日,公司亦是中国拥有最多IP授权的IP趣玩食品企业。
金添动漫成立于2011年4月,2016年2月改制为股份有限公司,同年8月在新三板挂牌,2021年1月主动摘牌。
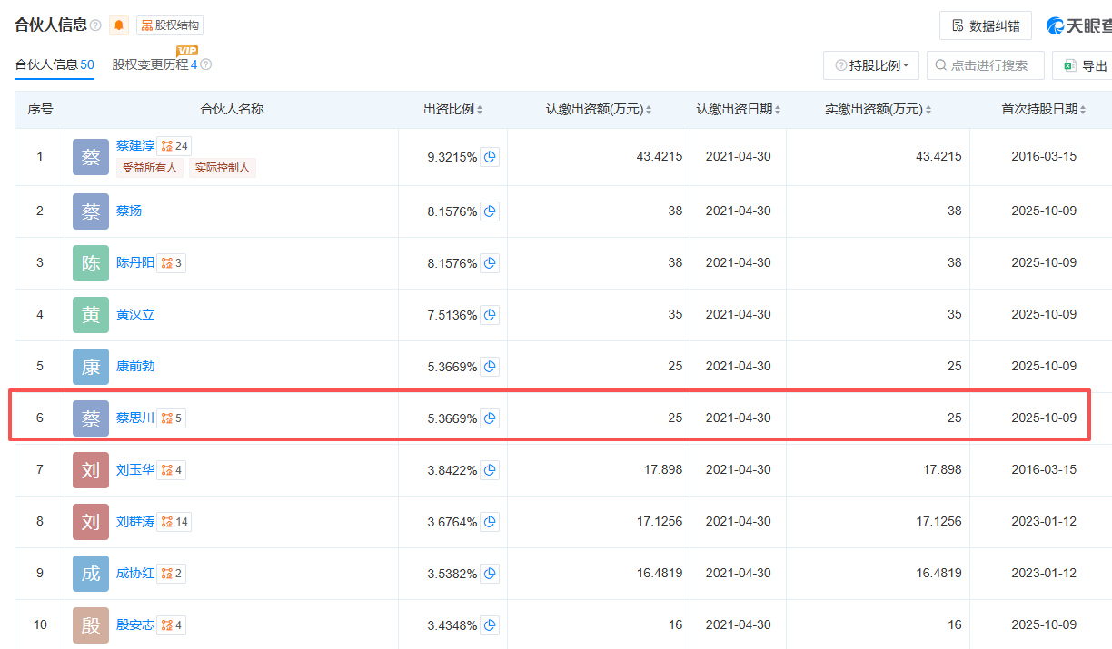
截至递表,蔡建淳直接持有金添动漫87.80%股份,通过员工持股平台东莞金乐、东莞金喜、东莞金澄间接控制公司12.2%股份,合计持有公司100%股份,系公司控股股东、实际控制人。
业内人士表示,在我国上市公司,控股股东滥用控制权侵占公司资产、资金,转移公司利润之类的利益输送行为较为普遍。在“一股独大”股权结构下,控股股东的存在会影响到独立董事、监事会和中介机构的独立性,难以保障“独立力量”的独立性以维护中小股东的利益;并且高度集中的股权结构也极易引起公司治理制衡机制的“失灵”,大股东将有机会和能力出于个人利益最大化而做出经营决策,往往容易产生“一言堂”现象,从而可能导致中小股东的权益得不到保障。
2023年、2024年,金添动漫分别派发股息1080万元、1940万元。按持股比例计算,至少有2600万元流入实控人蔡建淳的口袋。
此外,报告期内,蔡建淳的薪酬分别为56.2万元、64.9万元、184.9万元及91.3万元,其中2024年的薪酬同比激增184.90%,涨幅远超其余董事。
蔡思川究竟是何人?
值得注意的是,金添动漫《公开转让说明书》与公开资料存在明显出入,信息披露真实性、准确性待考。
根据金添动漫《公开转让说明书》,蔡建淳曾持有东莞市旺福园食品有限公司(下称“旺福园食品”)100%股权,为避免同业竞争,于2015年7月23日全部转让给无关联第三方蔡思川,旺福园食品已不再是公司的关联方。
但根据天眼查,2012年6月28日,蔡思川、蔡建淳同时成为旺福园食品新晋股东,分别持股80%、20%。2017年5月,蔡建淳退出旺福园食品,蔡思川持股比例上升至100%。这一股权转让时点与《公开转让说明书》存在近2年时间差。
2014年、2015年、2017年,旺福园食品均为金添动漫的前五大供应商,各期采购金额分别为238.12万元、192.75万元、596.15万元,分别占采购总额的14.31%、3.39%及3.11%。金添动漫于新三板摘牌后不久,旺福园食品被注销,间隔约9个月。
倘若上述期间,蔡建淳尚未完成股份转让,金添动漫将旺福园食品认定为非关联方是否准确、合理?
更为关键的是,蔡思川与蔡建淳是否存在关联关系?
金添动漫新三板挂牌期间的第一大供应商为广州市徕富食品有限公司(下称“徕富食品”),蔡建淳于2005年2月至2015年12月担任该公司监事,任职时长达10年之久。
徕富食品背后隐现蔡思川身影。蔡建淳辞去监事职务的同时,蔡思川起任高级管理人员(董事、监事、经理等)。2022年9月,徕富食品被注销,彼时蔡思川已是该公司法定代表人、经理。
既然金添动漫认定蔡思川为“无关联第三方”,其又为何持有公司员工持股平台东莞金乐5.3669%份额?
蔡思川关联的5家企业,除东莞金乐存续外,其余4家已被注销。其中,前文未曾提到的东莞市金澳食品有限公司曾是金添动漫的供应商,截至2019年6月30日预付款余额133.45万元;东莞市金漫食品贸易有限公司则是公司董事、财务负责人刘玉华的配偶肖金满曾投资的企业。蔡思川在该两家企业注销前均担任监事。
金添动漫三板挂牌期间是否刻意隐瞒关联关系以规避监管,是否涉嫌信息披露违法违规?
业绩高度依赖授权IP
报告期内,金添动漫的业绩呈快速增长态势,收入分别为5.96亿元、6.64亿元、8.77亿元及4.44亿元,净利润分别为3686.4万元、7573.3万元、1.31亿元及7029.6万元。
同时,金添动漫的毛利率显著高于同行业水平,并呈持续上升趋势,各期毛利率分别为26.6%、32.6%、33.7%及34.7%。自2023年起,公司毛利率始终保持在30%以上,超越多数A股零食上市公司。
根据Wind统计数据,A股11家零食上市公司中,2024年毛利率超过金添动漫的仅有和,其毛利率分别为41%和35.46%。2025年上半年,金添动漫的毛利率进一步攀升至34.7%,同期11家零食上市公司的毛利率均未达到这一水平。
金添动漫的核心优势在于通过IP赋能,将低毛利的休闲零食转化为高毛利的情感消费和娱乐产品,从而重塑估值逻辑。然而,公司对IP授权的依赖程度已达到极高水准,其潜在风险不容忽视。
据招股书披露,2022年至2024年,金添动漫来自IP趣玩食品的收入占总收入比重持续攀升,分别为96.6%、97.6%和98.8%。到2025年上半年,收入占比进一步升至99.5%。
报告期内,前五大IP贡献的收入占比分别为90%、88.7%、85.9%及85.7%。其中,奥特曼IP为金添动漫最大收入来源,各期收入分别为3.73亿元、4.19亿元、4.79亿元及1.95亿元,分别占总收入的62.6%、63%、54.5%和43.9%。
值得注意的是,孙剑是金添动漫奥特曼、名侦探柯南及其他IP的IP授权方的控股股东。公司成立初期,孙剑曾持有20%股份,后经过一系列增资,其持股比例降至18%。
2025年5月,金添动漫决定减资1944万元,孙剑退出公司股东名录。截至递表,公司奥特曼IP剩余授权期限仅剩1年。孙剑的出走是否会对公司经营造成冲击?
业内人士指出,目前公司尚未建立自有IP,长期依赖外部IP存在经营风险。原因在于,外部IP授权通常设有年限限制(一般为三至五年),并非公司“自有资产”。若授权到期未能续约或IP方终止合作,将直接冲击业务,带来不可控的风险。
此外,IP自身的生命周期特性亦会对公司造成影响。以小猪佩奇为例,该IP在2022年贡献收入超过8900万元,2024年降至4550万元,2025年上半年进一步下滑至1350万元,较去年同期几乎“腰斩”。
国产IP喜羊羊与灰太狼同样表现疲软,其带来的收入呈现下降趋势。2024年贡献收入4800万元,2025年上半年收入约为1800万元,同比下降约三成。
金添动漫的核心客群市场变化亦构成长期挑战。IP趣玩食品的主要受众为儿童,而国内出生率逐年下降,长远来看可能导致市场规模萎缩,这是行业未来发展必须正视的难题。










还没有评论,来说两句吧...